
Navštíveno 1155x


22.12.2010, 16:10 |
petrb panove:) v knize mi pisou oznaceni rele J 52 ale, jake cislo mam najit na tom rele v aute take to 52? a jeste jedna otazka co musim na rele namerit a na co musim mit nastaveny voltmetr? pomuze nekdo?
bude to dle mě obyč relé, a to ověříš tak, že na cívku (2 kontakty) přivedeš 12V a V-metrem nastaveným na měření odporu zjistíš, jestli se spínací kontakt sepl (minimální odpor) a jestli se rozpínací kontakt rozepl (velký odpor - nekonečno)

22.12.2010, 21:18 |
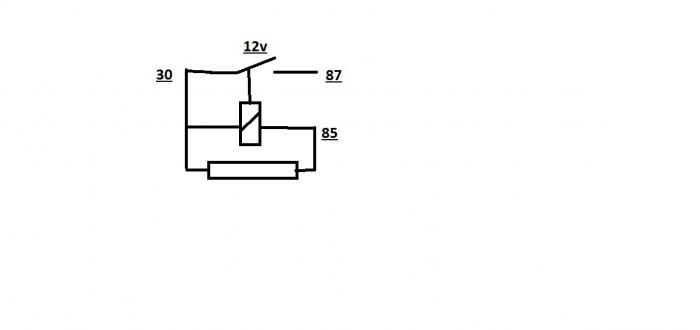
petrb tu mam fotku rele muzete mi nekdo prosim na jake konektory mam dat voltmetr? kdyztak to prosim nakreslete na obrazek


22.12.2010, 21:20 |
petrb a jeste prosim na jake presne hodnote mam mit nastaveny voltmetr? je toho tam kapku vicero

22.12.2010, 21:55 |
petrb

22.12.2010, 21:57 |
petrb
předpokládám, že to je zapojeno tak, že na 30tku je přes pojistku spínaný onen spotřebič přes kontakt 87, na 85 bude asi kostra...Tudíž ho vyzkoušíš tak, že na 30 přivedeš +12V, na 85 - (0V) a na 87 se ti po sepnutí objeví taky +12V, tedy po sepnutí můžeš rovnou vrazit Vmetr na rozsahu DC 20V mezi kontakty 87 a 85 a měl by ti ukázat oněch 12V. Ten odpor nebo co to je bude buď ochrana nebo časové relé.